康惠制药跌停核心配资知识网,恩威医药、万邦德、沃华医药、康缘药业、珍宝岛等跟跌。
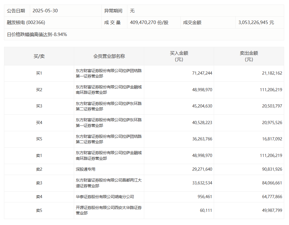
举报 第一财经广告合作,请点击这里此内容为第一财经原创,著作权归第一财经所有。未经第一财经书面授权,不得以任何方式加以使用,包括转载、摘编、复制或建立镜像。第一财经保留追究侵权者法律责任的权利。如需获得授权请联系第一财经版权部:banquan@yicai.com 相关阅读融发核电今日跌停 深股通专用席位买入2927.16万元并卖出9083.19万元
0 05-30 16:29广聚能源今日跌停 深股通专用席位买入1.12亿元并卖出1.04亿元
0 05-28 16:26连云港今日跌停 沪股通专用席位买入8656.26万元并卖出1.39亿元
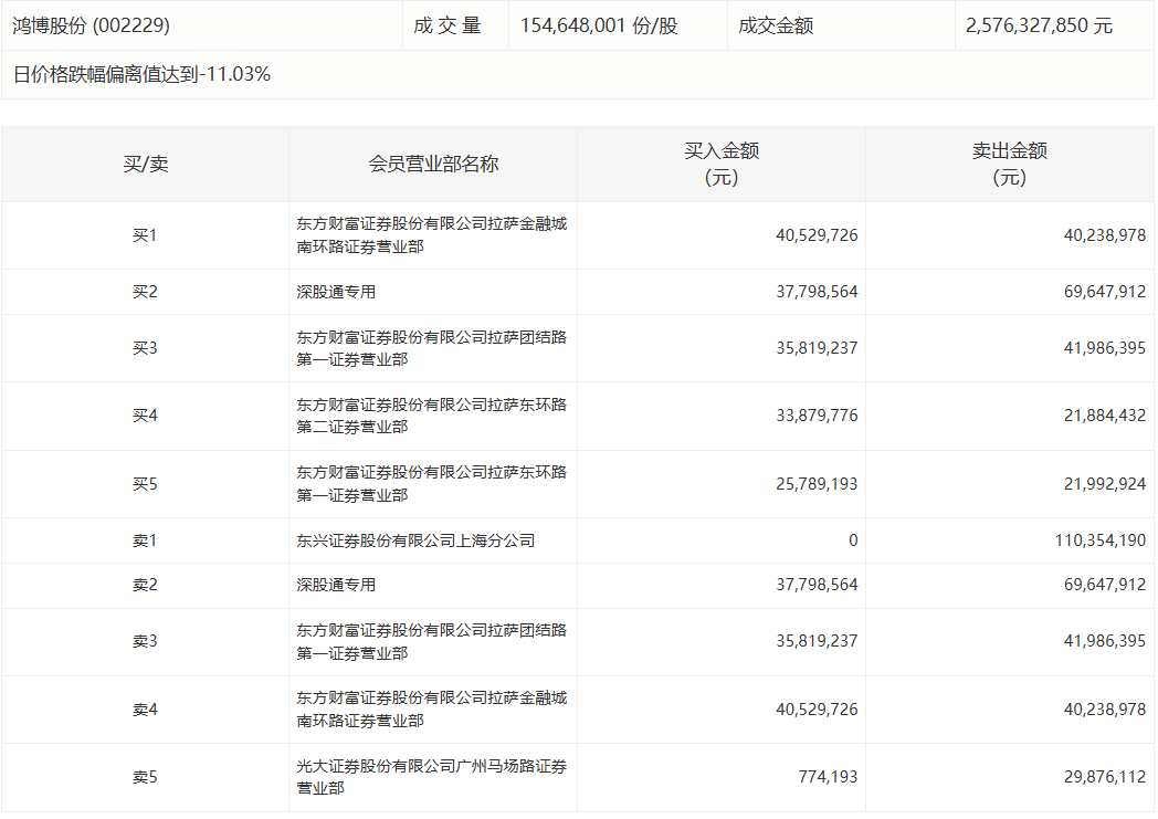
18 05-20 16:49鸿博股份今日跌停,北向资金净卖出3184.93万元
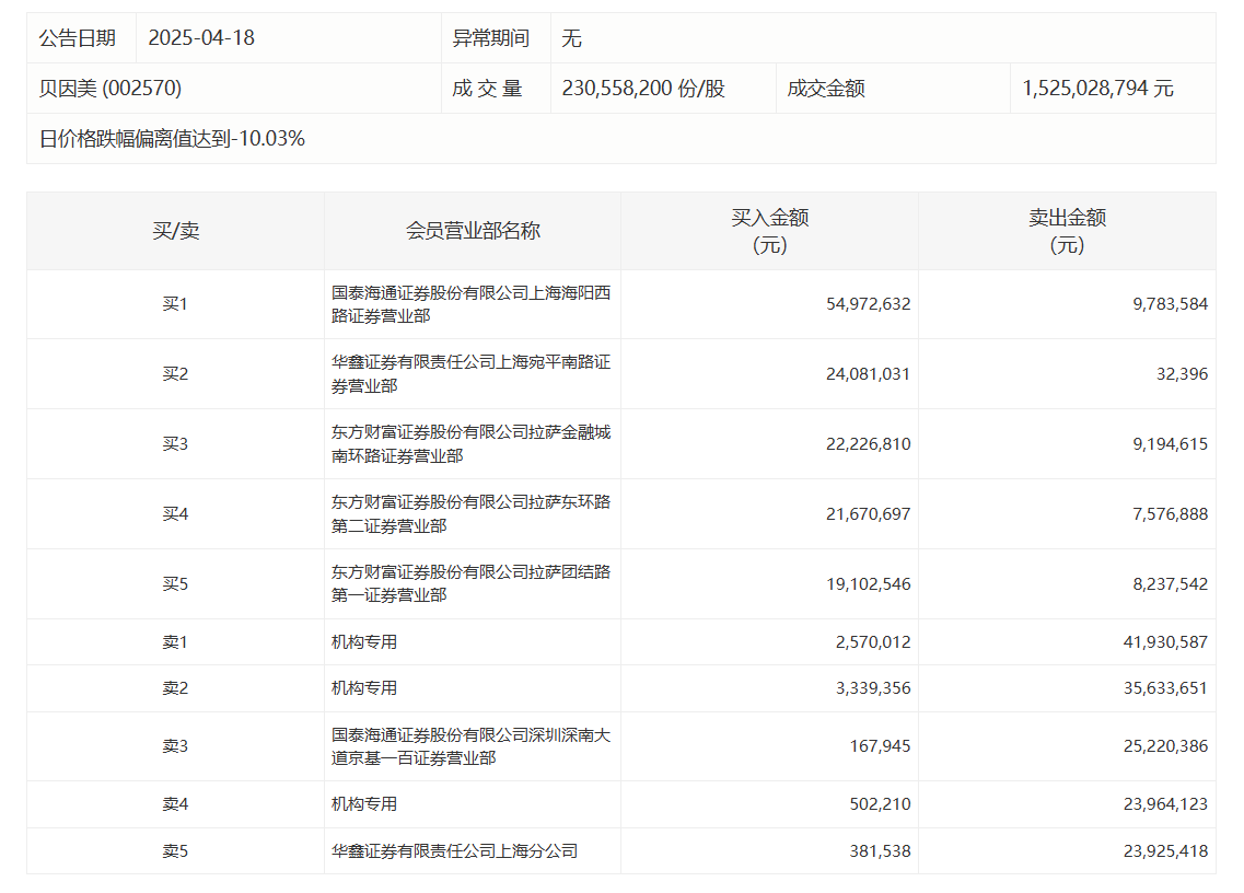
0 05-08 16:40贝因美今日跌停 三机构专用席位净卖出9511.68万元
0 04-18 16:55 一财最热 点击关闭高忆配资提示:文章来自网络,不代表本站观点。