弘业期货涨停股票配资平,翠微股份、拉卡拉、瑞达期货、华金资本、南华期货等纷纷走高。
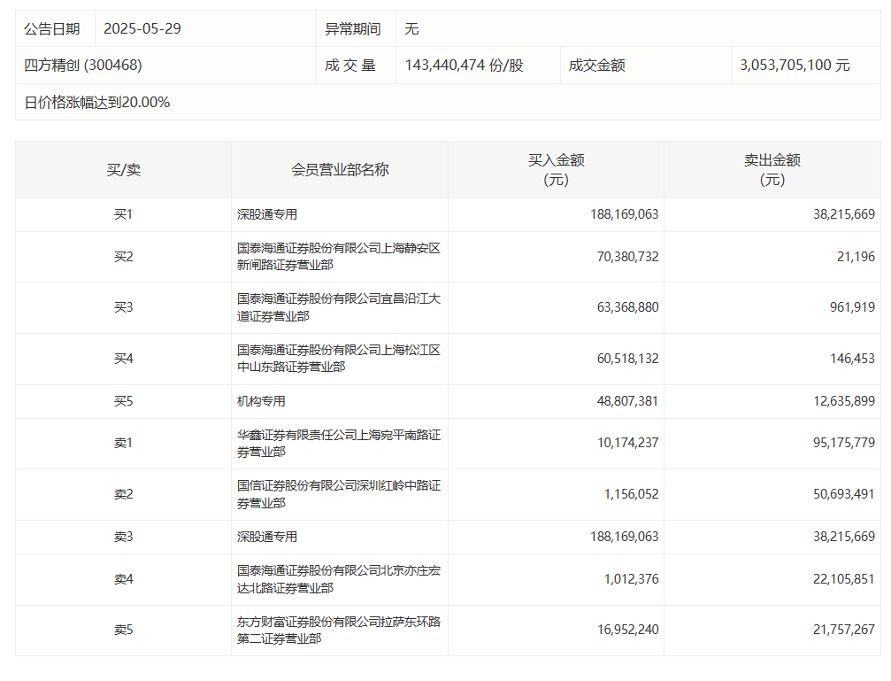
举报 第一财经广告合作,请点击这里此内容为第一财经原创,著作权归第一财经所有。未经第一财经书面授权,不得以任何方式加以使用,包括转载、摘编、复制或建立镜像。第一财经保留追究侵权者法律责任的权利。如需获得授权请联系第一财经版权部:banquan@yicai.com 相关阅读四方精创今日涨停 深股通专用席位买入1.88亿元并卖出3821.57万元
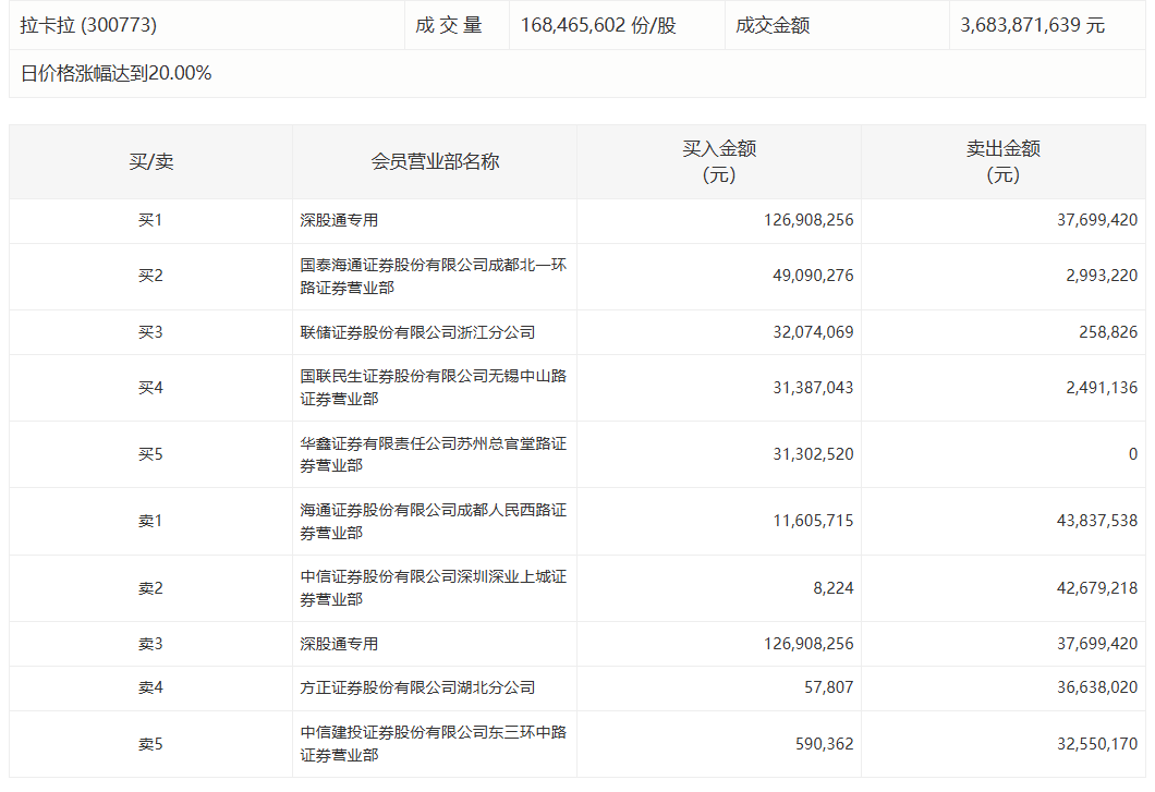
0 05-29 16:44拉卡拉今日涨停 深股通专用席位买入1.27亿元并卖出3769.94万元
0 05-29 16:29雄帝科技今日涨停 四机构专用席位净卖出1.03亿元
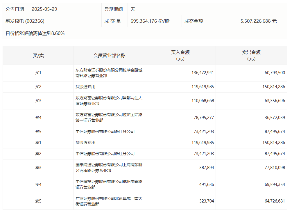
0 05-29 16:29融发核电今日涨停 深股通专用席位买入1.20亿元并卖出1.51亿元
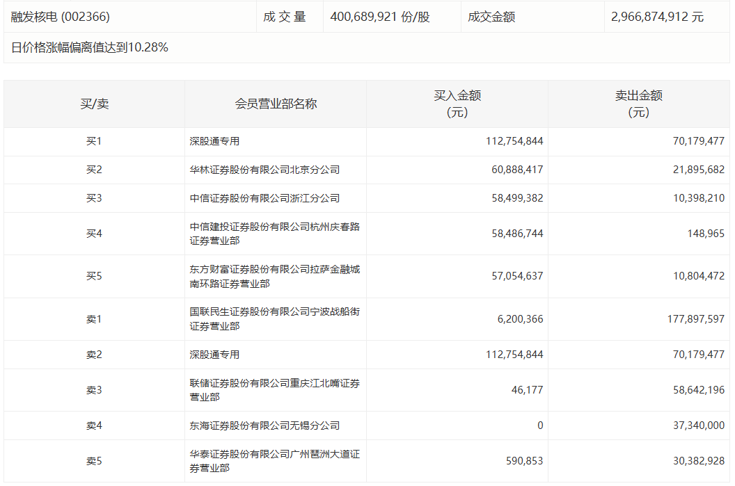
0 05-29 16:27融发核电今日涨停 深股通专用席位买入1.13亿元并卖出7017.95万元
0 05-28 16:29 一财最热 点击关闭高忆配资提示:文章来自网络,不代表本站观点。